-
標準模具,精度高
每種產品都有標準的模具,模具采用數控加工,精度高。
-
球化率3級以上
每臺產品球化率可以達到3級以上。
-
進口噴涂材料
噴涂材料進口粉末烤漆噴涂。
-
現場試壓
每個管件都現場每臺試壓。
-
-
-
-
-
產品優點
產品參數

法蘭適配器dn50
產品介紹:般德品牌法蘭適配器dn50產品配置:球鐵體,EPDM橡膠墊,球鐵壓蓋,45#螺栓螺母;主要應用于給排水、水處理、水利工程等領域。
執行標準 | 名稱 | 設計及檢驗 | |||||
參照標準 | EN14525、ANSI/AWWA C219和EN545 | ||||||
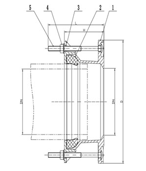
主要零部件信息 | 名稱 | 1-閥體 | 2-橡膠墊 | 3-壓蓋 | 4-螺母 | 5-螺栓 | |
材質 | QT450-10 | EPDM | QT450-10 | 45# | 45# | ||
尺寸信息 | 規格 | 連接范圍 | 公稱尺寸 | D | H | L | |
DN | NPS | ||||||
DN50 59-73 | 59-73 | 50 | 2 | 165 | 76 | 130 | |
DN65 72-85 | 72-85 | 65 | 2.5 | 185 | 76 | 130 | |
DN80 88-103 | 88-103 | 80 | 3 | 220 | 76 | 130 | |
DN100 108-128 | 108-128 | 100 | 4 | 225 | 76 | 130 | |
DN125 132-154 | 132-154 | 125 | 5 | 280 | 76 | 130 | |
DN150 159-182 | 159-182 | 150 | 6 | 295 | 76 | 130 | |
DN175 192-209 | 192-209 | 175 | 7 | 340 | 76 | 130 | |
DN200 218-235 | 218-235 | 200 | 8 | 340 | 76 | 130 | |
DN250 246-270 | 246-270 | 250 | 10 | 410 | 85 | 130 | |
DN250 271-289 | 271-289 | 250 | 10 | 410 | 85 | 130 | |
DN300 315-332 | 315-332 | 300 | 12 | 485 | 90 | 130 | |
DN300 322-340 | 322-340 | 300 | 12 | 485 | 90 | 130 | |
DN350 374-391 | 374-391 | 350 | 14 | 520 | 90 | 160 | |
DN400 417-437 | 417-437 | 400 | 16 | 580 | 90 | 160 | |
DN450 470-485 | 470-485 | 450 | 18 | 640 | 90 | 160 | |
DN450 480-500 | 480-500 | 450 | 18 | 640 | 90 | 160 | |
DN500 526-546 | 526-546 | 500 | 20 | 715 | 90 | 160 | |
DN600 630-650 | 630-650 | 600 | 24 | 840 | 90 | 160 |
