-
閥體強度高
閥體球化率3級,抗拉強度450Mpa,延展率大于10%
-
純銅閥芯
閥芯可采用純銅材質配件進行研磨后安裝
-
精密加工
閥體及內件為數控精密機床加工,精度高
-
導管材質可選
導管采用黃銅或不銹鋼材質
-
粉沫環氧樹脂靜電涂裝
閥體采用粉沫環氧樹脂靜電涂裝,噴涂厚度達到250μm
-
雙層壓力檢測
每臺閥門出廠均按照國家標準做殼體、密封雙層壓力檢測
-
-
-
產品優點
產品介紹
200X減壓閥,是一種利用介質自身能量來調節與控制管路壓力的閥門。200X減壓閥用于生活給水、消防給水及其它工業給水系統,通過調節減壓導閥,即可調節主閥的出口壓力。出口壓力不因進口壓力、進口流量的變化而變化,安全可靠地將出口壓力維持在設定值上,并可根據需要調節設定值以達到減壓目的。減壓精確,性能穩定,安裝調節方便,使用壽命長。
產品參數

名稱 | 設計及制造 | 法蘭連接 | 試壓標準 |
參照標準 | JB/T 10674 | GB/T 17241.6 | GB/T 13927 |
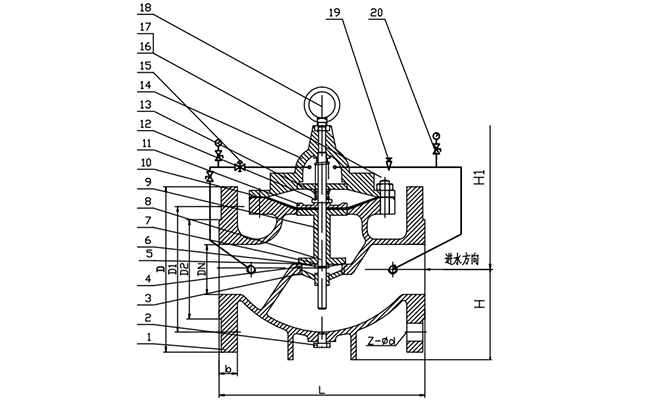
名稱 | 1-閥體 | 2-閥座 | 3-閥瓣 | 4-閥桿 |
材質及說明 | DI | 銅合金 | DI | 2Cr13 |
DN | NPS(英寸) | L | D | D1 | n-Φd |
50 | 2'' | 240 | 160 | 125 | 4-19 |
65 | 2 1/2'' | 240 | 180 | 145 | 4-19 |
80 | 3'' | 292 | 195 | 160 | 8-19 |
100 | 4'' | 325 | 215 | 180 | 8-19 |
125 | 5'' | 340 | 245 | 210 | 8-19 |
150 | 6'' | 400 | 280 | 240 | 8-23 |
200 | 8'' | 470 | 335 | 295 | 12-23 |
250 | 10'' | 550 | 405 | 355 | 12-28 |
300 | 12'' | 630 | 460 | 410 | 12-28 |
350 | 14'' | 675 | 520 | 470 | 16-28 |
400 | 16'' | 730 | 580 | 525 | 16-31 |
450 | 18'' | 730 | 640 | 585 | 20-31 |
500 | 20'' | 780 | 715 | 650 | 20-34 |
600 | 24'' | 970 | 840 | 770 | 20-37 |
