-
主體材質達標
主體材質化學成分和力學性能達到國家規定標準要求,?;?;
-
產品精度有保證
所有閥體及零部件均采用數控機床加工并通配互換,確保產品精度;
-
閥門可長期儲存
整臺產品裝配前用煤油和防銹油經高壓噴射清洗,試壓后清洗試壓介質,噴上防銹油,內腔清潔度達到JB/T7748標準要求,符合閥門長期儲存要求;
-
按照國家標準試壓
每臺閥門出廠必須按照國家標準試壓,不合格產品絕不出廠;
-
專用水線封堵保護
每臺閥門均采用專用水線封堵保護,杜絕在運輸過程中出現連接面損傷;
-
螺紋可定制
可根據客戶需求提供G螺紋、NPT螺紋、BSP等定制螺紋。
-
-
-
產品優點
產品介紹
不銹鋼絲扣截止閥的閥桿軸線與閥座密封面垂直,閥桿開啟或關閉行程相對較短,并具有非??煽康那袛鄤幼?,使得這種閥門非常適合作為介質的切斷及節流使用。該閥門廣泛應用于水處理、食品、電力、石油化工等行業。
產品參數

執行標準 | 名稱 | 設計及制造 | 試壓標準 | |||
參照標準 | GB/T 12235 | GB/T 13927 | ||||
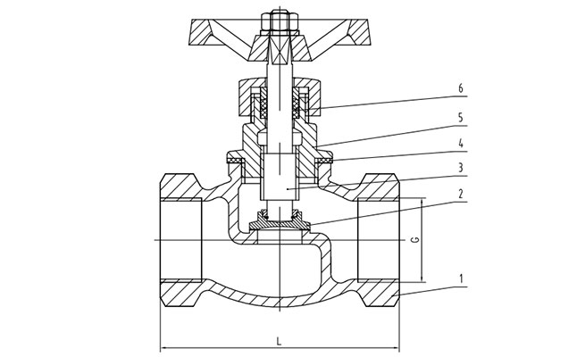
主要零部件信息 | 名稱 | 1-閥體 | 2-閥板 | 3-閥桿 | 4-中口墊 | 5-閥蓋 |
材質及說明 | CF8 | CF8 | 304 | PTFE | CF8 | |
尺寸信息 | 公稱尺寸 | B型 | ||||
DN | G | L | ||||
15 | 1/2'' | 64 | ||||
20 | 3/4'' | 74 | ||||
25 | 1'' | 84 | ||||
32 | 1 1/4'' | 102 | ||||
40 | 1 1/2'' | 113 | ||||
50 | 2'' | 132 |
